昨日,外媒曝料,美国总统特朗普很快将对进口车征收25%的关税,最早下周可能落实相关政策。
11.28日,特朗普亲自在推特上释放了信号,称对进口车征税的问题正在研究中。

不过,他这次只字未提此前有关进口汽车威胁国家安全的“232调查”,而是搬出几十年来美国为保护本土小型卡车施行的“鸡肉税(chicken tax)”,并把理由转移到通用关厂裁员一事上。
特朗普自从上任美国总统后,推出的措施不断震惊全球
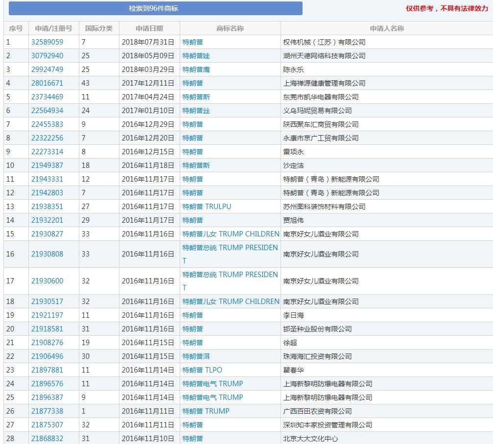
创名商标小编在好奇心的驱使下去商标局查询了下特朗普这个商标是否有人注册,还真有,不止一个哦


但是大部分商标不是被商标局驳回就是待审中
商标转让请找创名商标网,我们会为您准备大量申请资料,为您节省资料准备时间,严格把控资料的精准和严谨性,确保材料的完整性,从而提高注册的成功率。
您好,欢迎对我们《创名商标转让网》提出宝贵的意见和建议,我们将认真听取您的建议,同时我们将会抽取幸运奖,给予礼品奖励您对我们的关心,如果您的意见经我们采用,我们将给予千元现金大奖。有您的支持,我们会全力以赴做的更好,让您更满意!